13069356646
PRODUCT LIST
產品描述:全程綜合水處理器,內磁水處理器,旁流水處理器,底閥,旋啟式止回閥,新鄉市康達水處理閥門廠
產品特點:新鄉市康達水處理閥門廠【趙經理 13069356646】主要經營的產品有:全程綜合水處理器,內磁水處理器,旁流水處理器,底閥,旋啟式止回閥等。
AS型汽水分離器
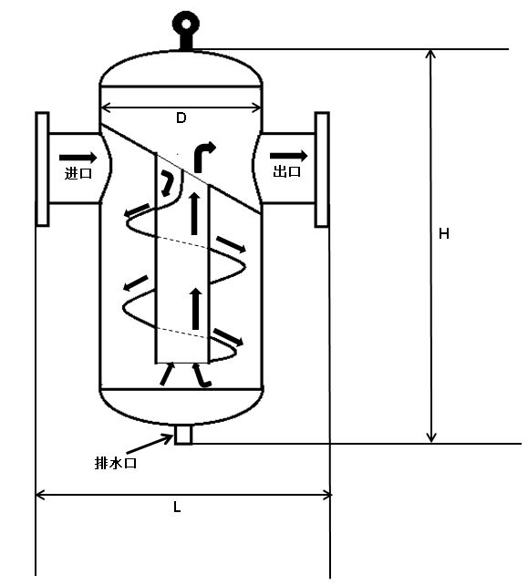
工作原理:
汽水分離器汽由進氣管進入旋流筒時,氣流將由直線運動變為圓周運動,旋轉氣流的絕大部分沿筒壁自筒體呈螺旋形向下,朝錐體流動,此為外旋流。蒸汽在旋轉的過程中產生離心力,將空度較大的液滴用向筒壁,液滴與筒壁接觸,便失去慣性力而靠入口速度的動量和向下的重力沿壁面下落,進入底流口。旋轉下降的外旋氣流在到達錐體時,因為錐的收縮結構而向旋流筒中心靠攏。根據“轉距”不變原理,其切向速度不斷提高當氣流到達錐體下端某一位置時,即以同樣的旋轉方向從旋流筒中部由下反轉向上,繼續做螺旋運動,形成內旋氣流。干度較高的汽就由溢流口排出旋流筒。
產品概述
雖然分離器的設計多種多樣,但它們的目的都是除去不能通過疏水閥排掉的懸浮在蒸汽中的水分。一般用于蒸汽系統中的分離器有三種形式。
擋板型-擋板或折板式分離器由很多擋板構成,流體在分離器內多次改變流動方向,由于懸浮的水滴有較大的質量和慣性,當遇到擋板流動方向改變時,干汽可以統過擋板繼續向前,而水就會積聚在擋板上,分離器有很大的通流面積,減少了水滴的動能,大部分都會凝聚,*后落到分離器的底部,通過疏水排出。汽旋型-汽旋或離心型分離器使用了一連串肋片以便產生高速氣旋,在分離器內高速旋轉流動的蒸汽。
吸附型-吸附型分離器內部的蒸汽通道上有一個阻礙物,一般是一個金屬網墊,懸浮的水滴遇到它后被吸附,水滴大到一定程度后,由于重力作用落到分離器底部。結合汽旋和吸附兩種形式的分高器也很常見,由于結合了這兩種方法整個分離效率會有所提高擋板式、汽旋式和吸附式分離器的主要不同是,擋板式分離器在較大的流速范國內可以保持很高的分離效率,而汽旋式和吸附式分離器的分離效率只有在蒸汽速度13m/s以下オ能達到98%,否則效率會很低,蒸汽速度為25時,其分離效率大概僅為50%。
研究表明,擋板式分離器在10m/s到30m/s的流速之間分離效率可接近100%,所以說如果有較大的速度波動,擋板式分離器用于蒸汽系統更為合適,祝且如果管道選小,濕蒸汽的速度可超過30m/s。解快這一回題的方法之一是增大分離器的口徑以及分離器上游管道口徑,以減小進入分離器的汽流速。
圖紙尺寸:

規格型號 | D | L | H | 排水口 |
DN65 | 219 | 450 | 640 | DN20 |
DN80 | 273 | 550 | 735 | DN20 |
DN100 | 325 | 580 | 795 | DN20 |
DN125 | 377 | 660 | 845 | DN20 |
DN150 | 426 | 710 | 935 | DN20 |
DN200 | 478 | 780 | 1200 | DN50 |
DN250 | 529 | 830 | 1600 | DN50 |
DN300 | 630 | 930 | 1700 | DN50 |
DN350 | 720 | 1050 | 1800 | DN65 |
DN400 | 820 | 1150 | 1900 | DN65 |
(注:以上僅供參考)
安裝說明:

裝置要正確安裝,并要有資質的操作工按照操作指南進行調試和維護,才能使其安全運行。要正確使用工具和安全措施。安裝汽水分離器必須安裝于水平管線上,排水口垂直向下,為確保被分離的液體迅速排放,應在汽水分離器底部的排水口連接合適的一套疏水閥組合。
1、隔離:安裝維修時不關閉隔離閥將對系統的部件造成損害,對人體造成傷害,危險還包括指:關閉了保護裝置和和通氣道或者報系統。確保隔離閥關閉,避免系統的沖擊。
2、壓力:維護修理前要考慮到管道中是否有介質,在對產品進行維修前確保壓力介質已被隔離并且安全氣道已通向大氣,這通過安裝排空閥便容易解決。即使壓力表指示為零也不要認為系統以排空。
3、溫度關閉隔離閥后要有一段時間使操作部位溫度接近常溫,避免燙傷。保護外套是必須的。
4、處置:產品可再循環。處理得當不會引起生態問題



- 上一篇:沒有了;
- 下一篇:汽水分離器










